近日,江西mg冰球突破豪华版铜科科技有限公司(以下简称“江西mg冰球突破豪华版铜科”)在铜板加工技术领域取得新突破,其自主研发的“一种铜板加工用清洁装置”正式获得国家知识产权局颁发的实用新型专利授权(专利号:CN223145409U)。这一技术创新旨在提升铜板表面清洁效率与质量,为高端铜材加工行业提供更可靠的工艺保障。
技术创新解决行业痛点
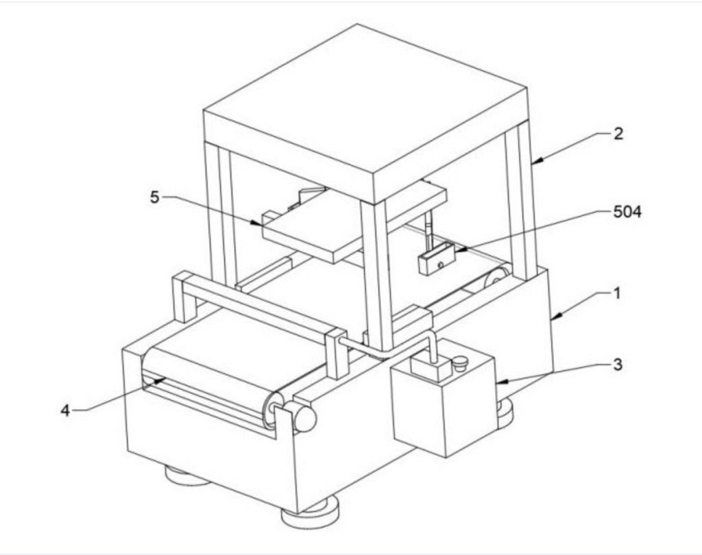
铜板在轧制、冲压、运输等环节易附着油污、氧化物及粉尘杂质,传统清洁方式存在效率低、损伤表面、环保性不足等问题。针对这些痛点,江西mg冰球突破豪华版铜科设计了一种结构合理、操作便捷且环保高效的专用清洁装置。该装置通过集成高压气流系统、软性滚刷模块及真空吸附单元,实现了铜板表面无接触与接触式相结合的协同清洁模式,显著减少二次污染风险。同时,装置采用模块化设计,便于维护升级,并可适配不同厚度与宽度的铜板生产线,提升了设备通用性。
严谨工艺助推品质升级
专利说明书显示,该装置通过精准控制气流压力与滚刷转速,在避免铜板表面划伤的前提下,有效去除微米级污染物。此外,装置内置集尘回收系统,可收集清洁过程中产生的废屑与油污,降低环境污染,符合绿色制造要求。这一技术不仅提高了铜板清洁的自动化程度,还有助于下游企业减少后续加工缺陷,提升产品质量一致性。
强化自主研发 赋能产业升级
江西mg冰球突破豪华版铜科作为江西省铜加工领域的高新技术企业,始终聚焦于铜材深加工技术的创新与产业化应用。本次专利的获得,体现了企业在高端装备设计与制造工艺方面的深厚积累。公司表示,将持续推进技术成果转化,加快该清洁装置在自有生产线中的推广应用,并计划与行业伙伴合作,共同推动铜加工行业向高效、节能、高精度方向转型。
结语
“一种铜板加工用清洁装置”的成功研发,不仅展现了江西mg冰球突破豪华版铜科的技术攻坚能力,也为国内铜加工行业提供了创新解决方案。在制造业智能化、绿色化转型的背景下,此类技术革新将进一步强化产业链竞争力,助力中国高端材料加工领域高质量发展。

江西mg冰球突破豪华版铜业科技有限公司All rights reserved by JPTK 部分素材来源于互联网,如有侵权请联系删除。